Na -rate ang kasalukuyang 80A nang direkta
Kalagitnaan ng sertipikadong
Mataas na katumpakan na klase c
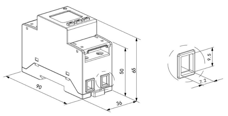
35mm din riles na naka -mount
Output ng pulso
4 module 72mm lapad
Para sa IoT Energy Management, Factory, School $
AC Single phase pagsukat
80A direktang pag -input kasalukuyang
CE-MID Certicated
Mataas na katumpakan na klase 1
Pag -install ng DIN Rail
Komunikasyon ng RS485
Application: IoT Energy Management, Factory, School $
+86-18702106858 / +86-21-69156352
Ang ADL200 single-phase electric meter ay isang compact at high-precision energy meter na idinisenyo para sa mga sistema ng mababang boltahe. Sinusukat nito ang single-phase aktibong enerhiya at iba't ibang mga elektrikal na mga parameter tulad ng boltahe, kasalukuyang, kapangyarihan, at kadahilanan ng kuryente. Sa pamamagitan ng isang 8-bit na LCD display, nag-aalok ito ng malinaw na pagbabasa ng aktibong enerhiya sa parehong positibo at negatibong kWh. Nagtatampok ang metro ng isang interface ng komunikasyon ng RS485 na may isang protocol ng MODBUS-RTU, na ginagawang perpekto para sa pagsasama sa mga platform ng IoT at mga sistema ng pamamahala ng enerhiya. Sertipikado sa mga pamantayan ng IEC62053-21 at IEC62053-22, tinitiyak nito ang maaasahang pagganap at kawastuhan. Ang pag -install ng riles ng DIN at maliit na kadahilanan ng form ay ginagawang madali upang ma -deploy sa iba't ibang mga aplikasyon.
| Mga teknikal na parameter | Halaga | |
| Boltahe ng input | Sanggunian ng sanggunian | AC 220V |
| Dalas ng sanggunian | 50Hz | |
| Pagkonsumo ng kuryente | <10va | |
| Input kasalukuyang | Pangunahing kasalukuyang | 10a |
| Pinakamataas na kasalukuyang | 80a | |
| Simula sa kasalukuyan | 4 ‰ lb | |
| Pagkonsumo | <4va | |
| Pagganap ng Pagsukat | Kawastuhan ng pagsukat | 1 klase |
| Saklaw ng pagsukat | 000000.00-999999.99 KWH | |
| Katumpakan ng orasan | Error ≤0.5s/d | |
| Output | Lapad ng pulso | 80 ± 20ms |
| Patuloy ang pulso | 1000imp/kWh | |
| Auto-Reclosing preno | Interface | RS485 (A B-) |
| Mode ng Koneksyon | Shiel | |
| DED Twisted pares conductors | ||
| Protocol | Modbus-rtu | |
| L*w*h | 90*36*65mm | |
| Malakas na kasalukuyang metalikang kuwintas | <1.8nm $ | |
Pamamahala ng kahusayan ng enerhiya
IoT EMS Solution $
Itinatag noong 2003, ang Acrel Co, Ltd. 【Stock Code: 300286.sz】 ay isang high-tech na negosyo na dalubhasa sa mga solusyon sa pamamahala ng enerhiya at kaligtasan ng elektrikal. Headquartered sa Shanghai, nag -aalok ang Acrel ng mga makabagong at napapanatiling solusyon para sa kahusayan ng enerhiya ng microgrid at kaligtasan ng elektrikal. Na may higit sa 600 mga patent at software copyrights, ang Acrel ay nag-deploy ng higit sa 28,000 mga solusyon sa system sa buong mundo, na bumubuo ng isang komprehensibong "cloud-edge-end" na arkitektura ng internet sa internet.
Acrel Co., Ltd. is China Wholesale AC Single Phase Direct Access Din Rail RS485 Energy Meter Manufacturers and AC Single Phase Direct Access Din Rail RS485 Energy Meter Factory. Acrel's integrated product ecosystem spans from cloud platform software to end-user components, covering sectors such as power, renewable energy, data centers, smart buildings, transportation, and smart cities. These solutions enable intelligent, real-time energy management, enhancing energy security and reducing operational costs. We offer AC Single Phase Direct Access Din Rail RS485 Energy Meter for sale.
Ang pasilidad ng produksiyon ng kumpanya, ang Jiangsu Acrel Electric Manufacturing Co, Ltd, ay sumunod sa mahigpit na mga pamantayan sa kalidad at mga alituntunin sa kapaligiran, na may mga advanced na sentro ng pagsubok at isang pangako sa mga proseso ng walang bayad na produksyon. Ang koponan ng Acrel ng higit sa 500 mga inhinyero ay naghahatid ng mga sistema ng kahusayan ng enerhiya ng pagputol at mga solusyon sa matalinong enerhiya.
Sa pamamagitan ng isang malakas na presensya sa domestic, ang Acrel ay aktibong lumalawak sa buong mundo, suportado ng isang pandaigdigang network ng mga benta at teknikal na koponan at isang platform ng e-commerce na nagsisiguro na walang mga karanasan sa serbisyo sa buong mundo. Ipinagmamalaki ng Acrel na tulungan ang mga negosyo na mapabuti ang kahusayan, mabawasan ang pagkonsumo, at makamit ang mga layunin ng pagpapanatili.
Sama -sama, nagtatayo kami ng isang mas matalinong, greener sa hinaharap.
Awtorisadong mga patent
0+Bilang ng mga customer ay nagsilbi
0+Kabuuang mga empleyado
0+Base sa Paggawa
0m²Ang modernong de -koryenteng tanawin ay isang kumplikadong tapestry ng magkakaugnay na mga sistema ng kuryente, higit sa lahat alternating kasalukuyang (AC) para sa henerasyon, paghahatid, at pamamahagi. Gayunpaman, ang pagtaas ng nababago na enerhiya, pag -iimbak ng enerhiya, mga de -koryenteng ...
Read MoreAng modernong elektrikal na grid ay isang obra maestra ng engineering, isang malawak at magkakaugnay na network na idinisenyo upang maihatid ang kapangyarihan mula sa mga mapagkukunan ng henerasyon hanggang sa mga end-user na may kamangha-manghang pagiging maaasahan. Sa gitna ng sistemang ito ay ...
Read MoreSa lupain ng pagpapanatili ng elektrikal, pamamahala ng enerhiya, at pagiging maaasahan ng system, ang papel ng Power Quality Analyzer ay kailangang -kailangan. Ang mga aparatong ito ay matagal nang naging pundasyon para sa pag -diagnose ng isang malawak na hanay ng mga de -koryenteng isyu...
Read More